← 返回
問題詳情
流程/SOP
門診
處理中
回診.預防針通知
發問者:北區客服 建立:<2026-01-04 19:50 更新:2026-01-05 11:11
標籤:回診.預防針.簡訊
【院區/單位】北區客服
1.請問有簡訊發送紀錄可供查詢嗎?
2.請問能看見醫師設定的回診預約名單嗎?(類似獸醫大師回診名單)
3.因回診需勾選發送簡訊,若醫師未勾選,為避免漏傳簡訊,只能一個一個點進去看嗎?(但若有發送紀錄或可直接核對即可)
4.回診及預防針從此以後不需打電話嗎?(原流程為打電話未接傳訊)
編輯問題
刪除問題
回答(1)
+ 新增回答
回答者:資訊科基 時間:2026-01-04 21:49
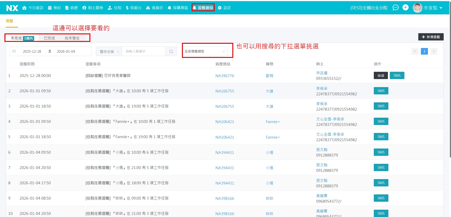
在提醒通知中
選項可以直接挑選未完成或是已完成 或是尚未發生的
針對4的部分
因為是流程問題
將問題反映給培訓部處理
不再NXVET系統上討論
目前先簡單回應培訓說明(後續改請與培訓部討論)
一、醫師勾選「發送簡訊」之說明
醫師於病歷中勾選「發送簡訊」,屬於醫療提醒與資訊告知。
此設定不影響客服既有的預防針通知作業流程。
二、客服預防針通知之執行原則
客服執行預防針通知時,以病歷中飼主留下的聯絡方式與備註為主要依據,包含:電話聯絡 或 簡訊(如病歷明確註記)
回答附件 / 連結
📎
1767534531824.jpg
(505.6 KB)
設為最佳解
編輯回答
刪除回答
新增回答
可以補充截圖、檔案或影片連結
關閉
回答者
*
內容
*
附件(可複選)
補充影片/連結(可選)
清空
送出回答